首页 > 推荐 > 正文

VR/AR领域,苹果到底在搞什么小动作?

2016-11-23 10:21:52  来源:腾讯科技

摘要:过去一年,关于苹果正在开发虚拟现实(VR)或现实增强(AR)设备,市场上出现了许多传闻。苹果是否正在开发虚拟现实设备?苹果的这种设备外观将是什么样?如果传闻属实,那么这款产品将于何时发布?
关键词: VR AR 苹果
\

  过去一年,关于苹果正在开发虚拟现实(VR)或现实增强(AR)设备,市场上出现了许多传闻。苹果是否正在开发虚拟现实设备?苹果的这种设备外观将是什么样?如果传闻属实,那么这款产品将于何时发布?

  VR次元总结了关于苹果虚拟现实设备的传闻、专利,以及泄露的图片,包括蒂姆·库克(TimCook)在2016年10月采访中的言论。

  无风不起浪,苹果已经申请了关于虚拟现实的专利,并招聘了虚拟现实领域的专家。因此,很明显苹果正在探索虚拟现实或现实增强技术,并开发原型产品。考虑到谷歌(微博)、微软和Facebook正在开发这类设备,因此这也是苹果不可错失的机会。

  苹果VR:什么是虚拟现实和现实增强?
  \

  虚拟现实设备是类似眼镜的头戴设备。这类设备内部集成了屏幕,能展示3D图像。虚拟现实头戴设备追踪你的头部运动,而3D图像也将随之移动。因此用户会感觉到,自己完全处于3D的“虚拟”世界中。

  虚拟现实曾是90年代的热点。当时,世嘉和任天堂等游戏公司试图开发并销售虚拟现实产品。然而技术并没有做好准备。2012年,OculusVR开始开发一款名为Rift的产品,其中集成了现代的3D技术,随后虚拟现实设备开始吸引越来越多用户的关注。2014年,Facebook以超过20亿美元的价格收购了OculusVR,目前这款产品已经开始销售。

  另一方面,现实增强设备是一种透明的眼镜。在戴上之后,你仍然可以看到周围世界。然而,图像会出现在你眼前。现实增强近几年也成为了媒体关注的热点。最开始是谷歌眼镜(显示的是2D图像),随后微软也开发了同类产品HoloLens,在用户看到的现实世界之上叠加3D图像。

  与此同时,另一家很神秘的公司MagicLeap也在利用“混合现实数字视场”开发一款头戴设备。这款头戴设备能生成与环境相关的数字视场内容,与用户周围的真实世界产生互动。目前关于MagicLeap外界所知的不多,而见过该公司设备的人也很少。但根据该公司放出的演示材料,设备的效果看起来极具吸引力。

  苹果被认为是一家先驱性的公司,但同时也是硅谷科技行业的一部分。如果谷歌、Facebook和微软都在开发虚拟现实或现实增强解决方案,那么可以肯定,苹果实验室中也会有这类的原型产品。

  关于苹果AR的传闻:

  苹果正在开发AR眼镜

  \

  彭博社报道的传闻显示,苹果的下个项目将会是类似谷歌眼镜的现实增强眼镜,而不是此前认为的虚拟现实设备。报道称,苹果甚至已经开始与硬件供应商讨论,采购少量的“近距离显示屏”,用于内部测试。

  如果苹果的内部测试进展顺利,成功走过了早期开发阶段,那么根据彭博社消息人士的说法,这款眼镜将可以无线连接iPhone,不仅能在用户的视场内直接显示信息,还能显示图像和其他数据。消息称,这款产品至少要到2018年才会推出。不过众所周知,苹果对于新产品的开发非常保密。

  苹果CEO库克近期在接受采访时也谈论了现实增强。他的说法表明,苹果正在可穿戴设备领域开发下一款重要产品。关于这款产品还有别的传闻。不过关于苹果的虚拟现实产品,传闻同样很多。

  开发移动端AR的秘密团队

  根据传闻,除了开发完整的现实增强眼镜之外,苹果还试图将现实增强技术直接集成至iPhone摄像头应用。BI的消息人士表示,苹果收购的多家创业公司团队都参与了这方面的工作,这也表明苹果希望在短期内将现实增强技术提供给用户。苹果的现实增强眼镜将到来,但将这项技术集成至智能手机意味着数百万手机用户都可以接触到现实增强。而最终,这也将吸引他们购买现实增强设备。

  消息人士还透露,苹果近期招聘了一名头戴显示设备(HMD)的专家。这表明了苹果在现实增强及相关设备方面的长期愿望。如果苹果将现实增强功能集成至iPhone,那么当用户举起手机指向现实世界对象,例如一座雕像或一辆汽车时,将可以看到相关信息叠加在现实世界画面上。

  库克暗示了苹果对AR的关注

  在2016年8月接受《华盛顿邮报》采访时,库克表示,苹果在现实增强领域“完成了大量工作”。这与外界猜测的苹果正在开发虚拟现实设备不同。库克甚至表示,现实增强将是苹果的“核心技术”。

  他表示:“我认为现实增强非常有趣,也是一种核心技术。因此,关于所讨论的这些,我们正在幕后开展大量工作。”

  在发表这些言论后,库克还于10月份少见地接受了一场采访。在盐湖城的犹他州TechTour活动上,他再次讨论了现实增强。这一次,他更清晰地介绍了苹果正在从事的工作。

  库克表示:“我认为,现实增强将发展至很大的规模,而虚拟现实的规模则不会有那么大。那么需要花多长时间?现实增强仍然需要一点时间,因为这里存在一些真正困难的技术挑战。不过,这终将发生,将会大规模地发生。我们将会关注,当这些发生时,我们如何离开它们生活。这就像是,在我们今天的生活中,我们失去了智能手机。”

  苹果更专注现实增强,而不是虚拟现实。这很有趣,也是合理的。尤其考虑到,近期多款现实增强应用,例如《PokemonGo》获得了成功,而竞争对手微软也在开发自主的现实增强设备HoloLens。库克认为,未来将会有很多用户每天使用现实增强设备,“总人口、发达公司,甚至所有国家中的很大一部分将会每天获得现实增强体验”。

  iOS代码暗示了系统将集成AR

  看起来,苹果尝试集成虚拟现实和现实增强已有相当长的一段时间。iOS开发者史蒂夫·特鲁顿-史密斯(SteveTroughton-Smith)在研究iOS代码时发现了一些有趣的新特性。他在Twitter上公布了自己的发现:“苹果应当模仿HoloLens;应用平台是苹果的优势,可以将虚拟现实留给他人。这是自iOS9以来就一直存在的SceneKit。”

  从这条Twitter消息以及附件中的材料可以看到,苹果的代码暗示了头戴设备的存在。这并不新鲜。根据特鲁顿-史密斯的说法,这一代码自iOS9以来就已存在,而苹果曾短暂放弃这块代码。他在接受BI采访时表示:“我认为,类似谷歌Cardboard的简单虚拟现实并不符合真正虚拟现实的需求。如果愿意认真对待虚拟现实,那么未来他们将意识到,走错了方向。”

  关于苹果VR的传闻:

  苹果正开发VR设备

  \

  当然,如果苹果并没有在开发现实增强设备,那么很有可能该公司会重新选择虚拟现实设备,与竞争对手三星类似。关于苹果开发虚拟现实,早在苹果的现实增强设备之前,就已有一些传闻出现。

  苹果招聘了VR开发者

  回到2014年11月,或许还有人记得,苹果发布了招聘启事,招聘具备3D图形、虚拟现实和现实增强经验的应用工程师。这条招聘启事很快被删除。其中的内容显示,应聘者需要开发“高性能应用,集成至虚拟现实系统,用于原型产品和用户测试”。

  自那时以来,苹果又围绕虚拟现实项目进行了一系列招聘,包括从微软挖来了尼克·汤普森(NickThompson)。这名工程师曾从事HoloLens音频硬件的开发3年时间。此外,苹果还招聘了微软的另一名员工本内特·维尔伯恩(BennettWilburn)。他专注于“用于人类活动认知的机器学习技术”。维尔伯恩此前曾供职于Lytro和华为。

  除微软的前员工之外,苹果还招聘了道格·鲍曼(DougBowman)。他被认为是3D用户界面领域的领导者,此前曾是弗吉尼亚理工大学的计算机科学教授,并曾担任该校人机互动中心的负责人。近期,苹果还招聘了格雷厄姆·迈尔(GrahamMyhre)。他曾在Lytro开发特殊的镜头和传感器,而目前“正在研究新的显示和光学技术,用于苹果的未来产品”。至少,这就是他LinkedIn页面上给出的说法。

  此外,近期《金融时报》报道称,苹果已成功开发了虚拟现实的原型产品,并正对其进行封闭测试。不过《金融时报》的消息人士并未透露,我们将会看到苹果推出什么样的新产品。

  根据BI的报道,苹果还聘请了此前供职于MagicLeap的开发者李泽宇(LiZeyu,音),以及供职于Oculus的尤里·佩特罗夫(YuryPetrov)。

  随后,苹果又为虚拟现实和现实增强项目进行了另一起重磅招聘,这次的目标瞄准了为iPhone7提供图形处理器的公司。苹果今年3月确认,曾有意收购ImaginationTechnology,但并未实现。不过这似乎无关紧要,因为苹果得到了自己想要的东西。

  苹果从该公司挖走了多名高级工程师,其中最知名的是ImaginationTechnology前首席运营官约翰·迈特卡尔夫(JohnMetcalfe)。根据LinkedIn上的信息,迈特卡尔夫自2016年7月开始供职于苹果,而他此前在ImaginationTechnology供职了近20年。业内人士猜测,迈特卡尔夫和其他人正在开发新型GPU(图形处理芯片),用户苹果计划中的虚拟现实或现实增强体验。不过,目前外界还不清楚更多的信息。

  苹果收购了多家与VR相关的公司

  苹果最重要的一笔收购是在2013年时收购了PrimeSense,该公司开发了第一代XboxKinect体感控制器。当时的收购价格为3.45亿美元。以我们的观点来看,用如此大笔的资金去收购一家公司,但却不使用该公司的技术,那么是不合理的。尽管许多传闻称,这与新款AppleTV有关,但这项技术实际上更适合虚拟现实和现实增强设备。

  苹果的收购还不止于此。2015年对苹果来说是繁忙的一年,而我们所说的不止是新产品。苹果这年的第一笔收购是Metaio。苹果于2015年5月收购了这家德国公司。Metaio是现实增强领域一家颇为知名的公司,为当前的许多现实增强应用提供了技术,例如宜家的虚拟商品分类,以及法拉利的现实增强展厅应用。自被苹果收购以来,Metaio就转向低调。该公司网站上只有很简单的介绍、联系方式邮箱,而没有太多其他信息。这非常神秘。

  在收购Metaio之后,苹果还于2015年11月收购了Faceshift。尽管这并不是一家类似Metaio的现实增强公司,但Faceshift开发了运动捕捉技术,被用在了近期的“星球大战”电影中。该公司开发的软件用于制作CGI动画的3D角色,并使3D角色去模仿演员的面部表情。尽管这可能与虚拟现实和现实增强有关,但可能也会被用于FaceTime。这将类似于Snapchat的做法。

  近期,苹果确认收购了FlybyMedia。该公司开发的技术使智能手机能“看到”周围世界。此前这家公司曾与谷歌合作,开发谷歌ProjectTango的图像识别技术。尽管该公司网站目前已经下线(这在苹果的收购之后很常见),但FlybyMedia自称为“专注于开发能提升,而非取代我们现实世界体验的新技术”,并在大规模SLAM、室内导航、传感器融合、图像识别,以及3D追踪领域具备丰富经验。

  库克在苹果财报电话会议上讨论了VR

  过去一年,许多人都猜测苹果将开发虚拟现实设备,但直到最近,苹果并未正式承认该公司对虚拟现实的兴趣。在2016年1月的季度财报电话会议上(苹果当时公布了有史以来最高的季度利润,即184亿美元),苹果CEO库克被问到了关于虚拟现实的问题。他的回应是:“关于虚拟现实,我不认为这是个小众市场。这很酷,并且带来了一些有趣的应用。”

  这并未确认,苹果正积极开发虚拟现实设备,但我们可以看看以往的情况。2014年,在新款AppleTV发布之前,库克曾表示,电视机是苹果“非常感兴趣”的一个领域。一年后,我们看到了苹果推出的全新AppleTV,并集成了单独的AppStore应用商店和游戏功能。库克还曾于2013年表示,智能手表很有趣,而苹果随后不久就推出了AppleWatch。因此可以说,尽管这样的表态并不是确认,但我们可以据此猜测苹果即将推出什么样的新品。

  苹果将员工派往专门的VR实验室

  如果苹果并没有在开发虚拟现实设备,那么为何要在过去3个月中,多次将员工派遣至斯坦福大学的虚拟人工互动实验室?《华尔街日报》报道称,该实验室主任杰雷米·贝伦森(JeremyBailenson)在加州的《华尔街日报》会议上谈到了苹果的来访。在企业开发虚拟现实头戴设备之前,它们通常都会拜访虚拟人工互动实验室。FacebookCEO马克·扎克伯格(MarkZuckerberg)在收购Oculus之间就曾来过这里。

  在当时的大会上,贝伦森表示:“苹果过去13年都没有来过我的实验室,但过去3个月他们来了3次。他们并没有说什么,但这个数据可以供你们参考。”苹果通常口风很紧。但考虑到这样的做法,以及库克此前的态度,可以猜测苹果品牌的虚拟现实设备正在开发中,尽管这可能还要很久才能完成。

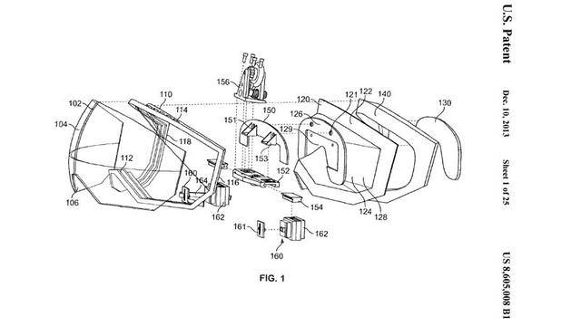
  苹果的AR/VR设备专利

  回到2013年12月,苹果的一项专利(美国专利号为8605008)曝光。这项专利描述了一种头戴设备。“这种眼镜系统提供了个性化的媒体观看体验,可能包括外壳、中间框架、用于媒体播放的光学元件,以及用于显示所播放媒体内容的镜片。”
  \

  3年后,2016年10月,又一项苹果专利被曝光。这项专利描述了同样的头戴显示设备,但版本经过了改良。专利中的文字描述让我们更清楚地了解到,这款虚拟现实设备如何使用:“头戴设备佩戴在用户头上,通过配置集成可以拆下的手机。这一头戴设备包括:可以物理支撑手机的框架,框架支撑的手机显示屏放在用户眼前;从手机显示屏接收至少一幅画面的光学组件,其中光学组件位于显示屏和用户眼睛之间。”

 \

  很有趣的是,苹果的虚拟现实设备与标准的眼镜非常类似,而不像大部分虚拟现实设备一样,类似巨大的滑雪护目镜,遮挡住用户的眼睛,从而带来更具沉浸感的体验。当然,这只是一项专利,在产品正式发布之前设计有可能再次改变。
 \

  苹果的AR/VR设计传闻:

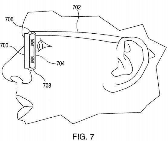
  苹果的设备看起来是什么样?


  根据苹果的专利,“眼镜系统可能类似于滑雪或摩托车护目镜。为了让用户更舒适,眼镜系统可能将包含透气元件,包括示例中的、位于用户脸部的透气泡沫,而用户或许可以拆卸图像生成元件,从而适应用户的眼睛。在某些情况下,眼镜系统可能会包含数据处理电路,调节光学元件生成的左侧和右侧图像,以显示3D图像,或适应用户的视力情况。”

  这项专利于2007年5月提交,当时iPhone尚未发布。

  苹果AR/VR发布时间的传闻:苹果将于何时发布产品?

  假设苹果正在开发虚拟现实设备,并将于某个时间点发布,那么具体时间可能是在什么时候?

  尽管其他公司已推出了虚拟现实产品,但没有任何产品是真正可以公开获得的。OculusRift将率先面市,预订订单将于明年3月发货。随后,HTCVivePre也将发货。HoloLens目前提供给开发者测试,可能要到2016年晚些时候才会公开发售。谷歌眼镜的开发则已经停止。

  以往,苹果在产品发布的当年就会开始销售。如果苹果发布一款虚拟现实产品,那么我们可能将听到相关传闻。我们希望今年能听到这类产品的更多消息,但目前关于发布时间,我们还没有听说任何情况。只能猜测,这款产品将于2017至2018年发布。

(文章来源:腾讯科技)

第四十一届CIO班招生
国际CIO认证培训
首席数据官(CDO)认证培训
责编:houlimin

免责声明:本网站(http://www.ciotimes.com/)内容主要来自原创、合作媒体供稿和第三方投稿,凡在本网站出现的信息,均仅供参考。本网站将尽力确保所提供信息的准确性及可靠性,但不保证有关资料的准确性及可靠性,读者在使用前请进一步核实,并对任何自主决定的行为负责。本网站对有关资料所引致的错误、不确或遗漏,概不负任何法律责任。
本网站刊载的所有内容(包括但不仅限文字、图片、LOGO、音频、视频、软件、程序等)版权归原作者所有。任何单位或个人认为本网站中的内容可能涉嫌侵犯其知识产权或存在不实内容时,请及时通知本站,予以删除。