首页 网校 CIO班 关于我们
  • 首页
  • 热点
  • 人工智能
  • 大数据
  • 云计算
  • 移动应用
  • 数字政府
  • 物联网
  • 信息安全
  • CIO
  • 低空经济
  • 腾讯云学堂
  • IT业界
  • CIO班
  • 元宇宙
  • 更多
    • 区块链
    • 管理系统
    • 数字营销
    • 智慧医疗
    • 智慧城市
    • 智能制造
    • 金融科技
    • 智慧交通
    • 智慧教育
    • 智慧能源
    • 智慧旅游
    • 智慧地产
    • 创新转型
    • 人物访谈
    • 职业发展
    • 微讲座
    • 服务管理
    • 政策法规
  • 首页

  • 推荐

  • 人工智能

  • 大数据

  • 云计算

  • 移动应用

  • 数字政府

  • 物联网

  • 信息安全

  • CIO

  • 低空经济

  • 腾讯云学堂

  • IT业界

  • CIO班

    • CIO访谈
    • 学院活动
    • CIO班动态
    • CIO风采
  • 元宇宙

  • 基础设施

  • EA

热搜: 云计算 大数据 CIO班 CIO 互联网+ 物联网 电子政务
    机房精密空调低压报警与故障维修方法

    数据中心机房专用空调低压报警是我们在日常维护中经常碰到的问题。尤其是在冬季中经常遇到。

    关键词: 精密空调
    解析常见的数据分析模型——行为事件分析

    行为事件分析法主要用于研究某行为事件的发生对企业组织价值的影响以及影响程度。

    关键词: 数据分析 行为事件
    弱电工程数据中心机房现状定位优化

    面对数据中心运行需要不断地电力、更多的存储设备、更多的计算能力我们应该如何应对呢?下面我们就来了解一下弱电工程数据中心机房mpo现状定位

    关键词: 弱电工程 数据中心 机房
    数据中心供配电系统负荷计算实例分析

    低压供配电系统的设计中负荷的统计计算是一项重要内容,负荷计算结果对供电容量报装、选择供配电设备及安全经济运行均起决定性的作用。

    关键词: 数据中心 负荷
    EMC谭仲良:加速实现数字化转型,要靠两条腿走路

    数字化转型的过程就是IT变革的过程。面对日趋复杂的IT环境,企业应该如何布局,从何改变。EMC大中华区新掌门人谭仲良带来了全新的思路。他认为

    关键词: 谭仲良 数字化转型
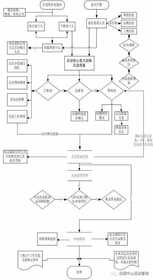
    机房运维:核心机房电源中断应急预案

    心机房电力的保障一直是维护体系的头等重要事项,通过实施应急发电演练,建立了可靠的应急预案机制,最大限度的降低电源中断对网络传输质量的

    关键词: 机房 运维
    欲成知识电商平台,知乎底气何在?

    欲在商业化上做知识界的天猫、亚马逊,对于知乎而言,其底气何在?这是许多人关注的问题。知乎的底气可能在于其通过前期的不断尝试与积累,已

    关键词: 电商
    阿里影业宣布新战略:“新基础设施”赋能电影产业

    6月18日,在第20届上海国际电影节的中国电影产业高峰论坛上,阿里巴巴文化娱乐集团董事长兼CEO、阿里巴巴影业集团董事长董事局主席兼CEO俞永福

    关键词: 阿里影业 新基础设施
    顺丰IT基础架构运维的焦虑与进化

    企业要实施信息化战略来提高市场反应速度,就要部署一系列的信息化软件,比如bi系统、erp系统、网站系统等,这些系列软件就构成了it应用架构,

    关键词: 顺丰 IT
    数据中心网络带宽的极限在哪里?

    网络是数据中心最为重要的组成部分,完成了所有设备之间的互连,并让各种数据在不同设备之间畅通传递,包括现在火热的云计算、大数据及虚拟化

    关键词: 数据中心 带宽
6846条 上一页 1 85 86 87 88 89 90 91 92 93 685 下一页

最近更新

大咖云集 | “智能风控 新质发展”2025
大咖云集 | “智能风控 新质
AI重塑零售新生态 | 首届未来零售创新峰
AI重塑零售新生态 | 首届未来
基于Nutanix云平台的Dell PowerFlex全面上市
基于Nutanix云平台的Dell Power
Cloudera助力香港医管局构建数据驱动型医疗
Cloudera助力香港医管局构建数据
聚焦算网融合与数据中心创新 2025智算行业
聚焦算网融合与数据中心创新 20
算力狂潮下的“冷思考”:解码服务器赛道“
算力狂潮下的“冷思考”:解码服
关于开展第十届“创客中国”智能机器人中小
关于开展第十届“创客中国”智能
IDRR爱迪热工携手国家级科研所,以产品彰显
IDRR爱迪热工携手国家级科研所,
设备冗余过高?路由策略咋规划?90%中小企
设备冗余过高?路由策略咋规划?
医疗信息化江湖风云再起!金仓数据库亮相CHI
医疗信息化江湖风云再起!金仓数

热点文章

这是一篇关于认可及国家质量基础设施NQI的
这是一篇关于认可及国家质量基础
移动硬盘拷不进东西?简单解决无损害
移动硬盘拷不进东西?简单解决无
全面了解vCenter Server和vCSA的优缺点
全面了解vCenter Server和vCSA的优缺点
中芯国际:无奈的内讧
中芯国际:无奈的内讧
主流超融合基础架构产品与技术比较分析
主流超融合基础架构产品与技术比
存储虚拟化的三种方式
存储虚拟化的三种方式
ESXi主机内存构成和虚拟机内存构成
ESXi主机内存构成和虚拟机内存构
数据保护和灾备系统建设中主要有三个指标
数据保护和灾备系统建设中主要有
为何我们需要IPv6?IPv6 的优点和用途
为何我们需要IPv6?IPv6 的优点
虚拟机逃逸和虚拟机失窃
虚拟机逃逸和虚拟机失窃
友情链接
  • 腾讯网
  • CSDN
  • IT时代周刊
  • 漏洞银行
  • C114通信网
  • 网易科技
  • 万山数据
  • 至顶网
  • 51CTO
  • 和讯科技
  • CIO智库网
  • 赛迪网
  • 企业网
  • 飞象网
  • 凤凰网科技
  • 驱动中国
  • E-works
  • 中国外包网
  • 中国商业电讯
  • 电脑商情网
  • 项目管理者联盟
  • 电脑之家
  • 更多>>
京ICP备16057460号-1
移动客户端
CIO时代iphone版 | CIO时代Android版
关注我们
Copyright © 2003-2021 CIO时代网版权所有
关于我们| 联系我们 | 版权声明| 友情链接| 网站地图