首页 > IT业界 > 正文

企查查【雷达监控】功能上线两周年,企业动态实时掌握!

2018-09-14 15:41:56  来源: 项城网

摘要:两年来,中国经济市场风起云涌,无数商务人士在谈合作,或者分析竞品公司的实时状况时,通过企查查【雷达监控】功能,及时获取了第一手情报,牢牢把控机会、迅速规避风险,在竞争如此激烈的社会立于不败之地!
关键词: 企查查 监控
 
【侦查级的企业信息监控】早在2016年9月3日,雷达监控就已经出现在企查查App版本9.2.0的新增功能中。企查查自带的企业雷达监控功能,帮您实时监控目标企业、目标人员,任何人员和企业的信息变动都将第一时间通过手机app提醒。
 
【雷达系统-企业动态监控】
 
雷达监控企业信息,一站式添加所监控的企业工商变更、司法诉讼、经营风险、对外投资等多维度的变更信息。设置更新提醒、设置监控维度,及时监控企业动向、工商变更情况。可同时监控多家企业。
 
\
雷达监控-企业动态
 
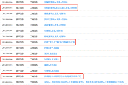
例:在宣布被阿里全资收购4个月之后,8月2日,饿了么更新了其股权信息。
 
据了解,饿了么原股东邓高潮、张旭豪、汪渊、康嘉等退出,新任股东为杭州阿里巴巴创业投资管理有限公司。
 
\
饿了么股权正式更新-信息来源:企查查
 
【雷达监控-人员动态监控】
 
企业董事高管投资所持股份、职位变动和司法诉讼等报告随时查看,深度挖掘企业更多数据。(详见下图:)
 
\
雷达监控-人员动态
 
例:9月10日,阿里巴巴集团创始人马云发出题为“教师节快乐”的公开信宣布:一年后的阿里巴巴20周年之际,即2019年9月10日,它将不再担任集团董事局主席,届时由现任集团CEO张勇接任。
 
如此重磅消息,其实外媒在9月8日的时候就已经被外媒爆料过,而在企查查雷达监控显示下,马云在8月2日就已经不再担任阿里巴巴企业法人,并且卸任阿里巴巴执行董事职位,详见下图:
 
\
马云信息动态-来源:企查查
 
【全国首家企业信息查询平台】
 
企查查作为全国首家企业信息查询平台和行业开创者,目前市场用户占有率全国第一。除雷达监控之外,企查查还基于90余种大维度数据采集,帮助查企业、防风险、做监控,已成为成功商务人士和企业发展的必备武器。
 
\
企查查官网
 
企查查拥有全量企业数据的公司:国内全覆盖,热点数据做到实时搜集整理,是百余家顶级金融机构的合作首选,专注数据关联,深度挖掘,不断优化、扩大专业产品功能!
 
企查查会以更加专业的功能和服务,展望未来!
 

第四十一届CIO班招生
国际CIO认证培训
首席数据官(CDO)认证培训
责编:content

免责声明:本网站(http://www.ciotimes.com/)内容主要来自原创、合作媒体供稿和第三方投稿,凡在本网站出现的信息,均仅供参考。本网站将尽力确保所提供信息的准确性及可靠性,但不保证有关资料的准确性及可靠性,读者在使用前请进一步核实,并对任何自主决定的行为负责。本网站对有关资料所引致的错误、不确或遗漏,概不负任何法律责任。
本网站刊载的所有内容(包括但不仅限文字、图片、LOGO、音频、视频、软件、程序等)版权归原作者所有。任何单位或个人认为本网站中的内容可能涉嫌侵犯其知识产权或存在不实内容时,请及时通知本站,予以删除。